Sony postanowiło opatentować rozwiązanie, które pozwala zastąpić gracza z krwi i kości jego wirtualnym odpowiednikiem w postaci sztucznej inteligencji napędzanej zaawansowanymi algorytmami. W domyśle technologia ta ma ułatwiać zabawę i pozwolić na ominięcie szczególnie problematycznych etapów, acz wiele osób skrytykowało pomysł, twierdząc przy tym, iż współczesne produkcje i tak są przesadnie uproszczone.
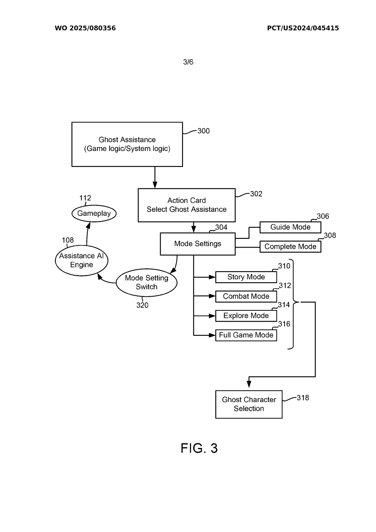
Wedle informacji przetoczonych przez redakcję portalu VGC, Sony postanowiło złożyć wniosek o przyznanie patentu na technologię „zastępcy gracza” w postaci AI jeszcze we wrześniu 2024 r., niemniej Światowa Organizacja Własności Intelektualnej dopiero w tym tygodniu udostępniła informacje na temat przedsięwzięcia i jego statusu. Jak wspomniano we wstępie, pomysł Sony zakłada oddanie kontroli nad postacią algorytmom, które wyręczą człowieka w rozwiązywaniu zagadek, toczeniu bojów z przeciwnikami, a nawet eksploracji świata. Korporacja doszła przy tym do wniosku, że najlepszą opcją będzie podzielenie opisywanej funkcji na dwa tryby: pełny, w którym sztuczna inteligencja wykona zleconą czynność oraz ten przewodnika, w którym to AI jedynie udzieli wskazówek i wskaże, jaką taktykę najlepiej obrać celem uporania się z problemem.
Korzystając z trybu przewodnika, protagonista samodzielnie zacznie wykonywać czynność, jasno dając przy tym do zrozumienia, jak powinien wyglądać proces, niemniej jego realizacja pozostanie w gestii gracza. Z kolei tryb pełny to, jak jego nazwa wskazuje, pełna automatyzacja – możemy odłożyć pada na stolik i iść pozmywać naczynia, a w międzyczasie gra zacznie przechodzić się sama. Pytaniem pozostaje, czy takie rozwiązanie ma sens w kontekście medium bazującego na interaktywności.

Wedle udostępnionych skrawków informacji, model sztucznej inteligencji odpowiedzialny za automatyzację rozgrywki ma być wyszkolony na zapisach z zabawy, dzięki czemu powinien poradzić sobie w większości sytuacji. Cały system ma funkcjonować na zasadzie podobnej do zaprezentowanego przed świętami NitroGen Nvidii, a więc AI najpierw nauczy się grać, a później postara się wykorzystać nabytą wiedzę w praktyce. Czy algorytmy będą w stanie podołać wyzwaniom, z którymi nie poradzą sobie ludzie z krwi i kości – to się jeszcze okaże.
Osobną kwestią pozostaje to, że wdrożenie opisywanej technologii stoi pod znakiem zapytania. Sam patent nie dowodzi tego, iż Sony planuje zaimplementować to rozwiązanie – ani teraz, ani nawet w bliżej nieokreślonej przyszłości. Giganci technologiczni nader często decydują się na złożenie wniosków o przyznanie praw autorskich „na zapas”, a później o nich zapominają.
Pomysł Japończyków spotkał się z mieszanym odbiorem. Niektórzy chwalili firmę za wyjście naprzeciw niedzielnych graczy, którzy za sprawą cyfrowych asystentów będą wreszcie w stanie cieszyć się grami o wyższym poziomie trudności bez potrzeby przesadnego wypruwania sobie żył i ślęczenia godzinami przed ekranem, podejmując raz za razem próbę ubicia irytującego bossa. Inni z kolei stwierdzili, że współczesne gry i tak są zbyt proste, a rozwiązania takie jak Ghost Assistance odbiorą temu medium to, co wyróżnia go na tle innych – interaktywność. Nie brak głosów, iż jeśli ktoś chce zobaczyć, jak dany tytuł przechodzi się sam, równie dobrze może obejrzeć gameplay na YouTubie.
0 komentarzy