AktualnościApple opatentował sposób na składany wyświetlacz

Apple opatentował sposób na składany wyświetlacz

Opracowanie własnego patentu na zginane wyświetlacze w telefonach nie oznacza, że Apple planuje sprzedaż składanych smartfonów lub tabletów.

Apple opatentował sposób na składany wyświetlacz
Źródło zdjęć: © Apple

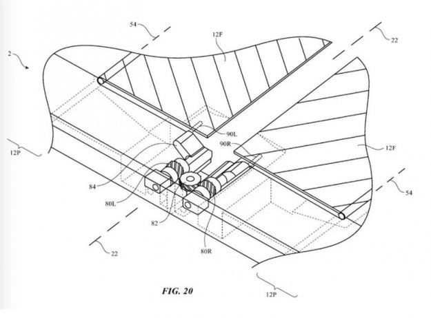
Zdaniem specjalistów z Apple'a wadą dostępnych obecnie urządzeń ze zginanymi wyświetlaczami jest to, że po pewnym czasie użytkowania, czyli wielokrotnym składaniu i rozkładaniu telefonu, powstaje nieprzyjemne dla oka zagięcie. Firma opracowała więc składane urządzenie, które wykorzystuje ruchome klapy zapobiegające gnieceniu się ekranu po jego złożeniu.

Według patentu opublikowanego przez Urząd Patentów i Znaków Towarowych Stanów Zjednoczonych mechanizm zawiasu zapewnia odpowiednie oddzielenie pierwszej i drugiej części wyświetlacza. Po rozłożeniu urządzenia ruchome klapy rozciągają się, aby zakryć szczelinę, a następnie chowają, gdy urządzenie jest złożone.

Apple zdecydował się zgłosić taki patent, ponieważ w jego przekonaniu dostępne obecnie w sprzedaży składane smartfony nie spełniają wystarczająco wymogów jakościowych. Samsung Galaxy Fold i Mate X Huawei mają zauważalne zagięcia na składanej części wyświetlacza, a nowa Motorola Razr, choć dzięki unikalnemu projektowi zawiasów uniknęła tego problemu, wydaje czasem trzeszczące dźwięki po otwarciu lub zamknięciu.

Składane smartfony to jeszcze technologiczna nowość i na pewno jest w tej dziedzinie sporo miejsca na innowacje. Apple wykazało zainteresowanie tą technologią, zgłaszając w ciągu ostatnich lat kilka patentów na składane urządzenia i mechanizmy. Na razie jednak nie wiadomo, czy firma kiedykolwiek wyprodukuje składany iPhone lub iPad.

Wybrane dla Ciebie