AktualnościPrzestrzenny pulpit w Mac OS X

Przestrzenny pulpit w Mac OS X

Serwis MacRumors.com, informujący o nowościach dotyczących produktów i rozwiązań opracowywanych przez koncern Apple, poinformował o interesującej dokumentacji, jaką firma z logo z nadgryzionym jabłuszkiem zgłosiła do amerykańskiego urzędu patentowego.

Przestrzenny pulpit w Mac OS X

Na szczególną uwagę zasługuje dokument zatytułowany Multidimensional Desktop (z ang. wielowymiarowy pulpit). Wynika z niego, że gigant z Cupertino w Kalifornii poważnie myśli o wdrożeniu przestrzennego interfejsu użytkownika w kolejnych wersjach systemu operacyjnego Mac OS X. Tekstową wersję zgłoszonej dokumentacji można obejrzeć na stronach amerykańskiego urzędu patentowego.

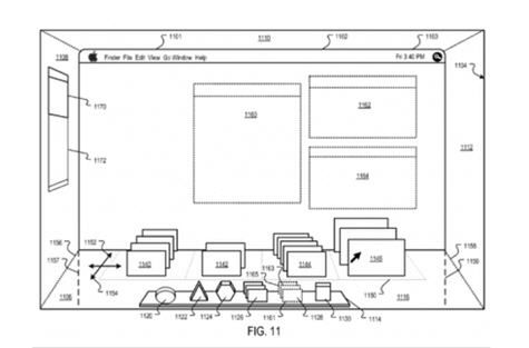
Zarysy projektowanego interfejsu można obejrzeć na załączonych do zgłoszonego dokumentu ilustracjach.

Obraz

Choć wiarygodność informacji o nowym interfejsie nie budzi zastrzeżeń, to wciąż pozostaje pytanie, kiedy i czy w ogóle Apple zdecyduje się na faktyczne wdrożenie przestrzennego interfejsu do przyszłych wydań systemu Mac OS X. Następna główna wersja tego systemu – Mac OS X 10.6 – spodziewana jest w pierwszym kwartale 2009 roku, ale zgodnie z dotychczas opublikowanymi informacjami w wersji 10.6 główny nacisk jest kładziony na zwiększenie wydajności, a nie wizualizację.

Pomysł Apple na razie pozostaje zatem wyłącznie na papierze – przynajmniej oficjalnie. Nie jest to jednak pierwsze tego typu rozwiązanie. Polecamy obejrzenie załączonego filmu pochodzącego z serwisu YouTube, prezentującego działający prototyp konkurencyjnego rozwiązania – BumpTop 3D Desktop. To aplikacja stanowiąca nakładkę na system Windows. Trzeba przyznać, że możliwości manipulacji plikami oraz obiektami w przestrzennym pulpicie BumpTop 3D są imponujące.

BumpTop 3D Desktop Prototype - www.bumptop.com

Skoro mowa o konkurencyjnych rozwiązaniach, nie można pominąć projektu firmy Sun o nazwie Looking Glass, umożliwiającego wyświetlenie przestrzennego pulpitu w Linuksie i systemie Solaris x86.

Źródło: MacRumors

Wybrane dla Ciebie