AktualnościKiedy zobaczymy PSSR 2.0? Nowy patent Sony ukazuje pierwsze szczegóły na temat tej technologii

Kiedy zobaczymy PSSR 2.0? Nowy patent Sony ukazuje pierwsze szczegóły na temat tej technologii

Choć PSSR jest bez wątpienia przydatną technologią, tak nie sposób zaprzeczyć, iż posiada ona swoje braki. Jej nowa odsłona, wzbogacona o dopisek "2.0" w nazwie, ma wyeliminować największe bolączki trapiące swojego poprzednika, wliczając w to nieprzyjemne dla oczu rozmywanie ekranu oraz artefakty wizualne.

PlayStation Hyperpop Collection
PlayStation Hyperpop Collection
Źródło zdjęć: © Sony

To, że PSSR 2.0 powstaje, nie jest żadną tajemnicą już od dłuższego czasu. Do tej pory brakowało jednak szczegółów na temat kolejnej generacji techniki upscalingu ekskluzywnej dla konsol PS5 Pro, co niedawno się zmieniło za sprawą zarejestrowanego przez Sony patentu.

Co wiemy o PSSR 2.0?

PSSR, a w zasadzie PlayStation Spectral Super Resolution, bo tak brzmi pełna nazwa owej funkcji, zadebiutowało w listopadzie 2024 roku wraz z PlayStation 5 Pro i miało stanowić jedną z największych zachęt do kupienia odświeżonej edycji popularnej konsoli. Rzeczone PSSR to oparta na sztucznej inteligencji zaawansowana technologia skalowania obrazu, która, z pomocą algorytmów uczenia maszynowego, jest w stanie podnieść rozdzielczość przy jednoczesnym zapewnieniu wysokiej płynności.

Szkopuł w tym, iż mimo niezaprzeczalnych korzyści, skorzystanie z PSSR może wiązać się z okazjonalnym wystąpieniem na ekranie tzw. glitchy, czyli artefaktów wizualnych. Z kolei sam obraz, w zależności od sytuacji, potrafi stać się niewyraźny i rozmazany, tym samym odbierając część frajdy płynącej z rozgrywki. Bolączki te mają zostać wyeliminowane przez następcę PlayStation Spectral Super Resolution, na co jasno wskazują informacje zawarte we wniosku patentowym dotyczącym "przetwarzania graficznego".

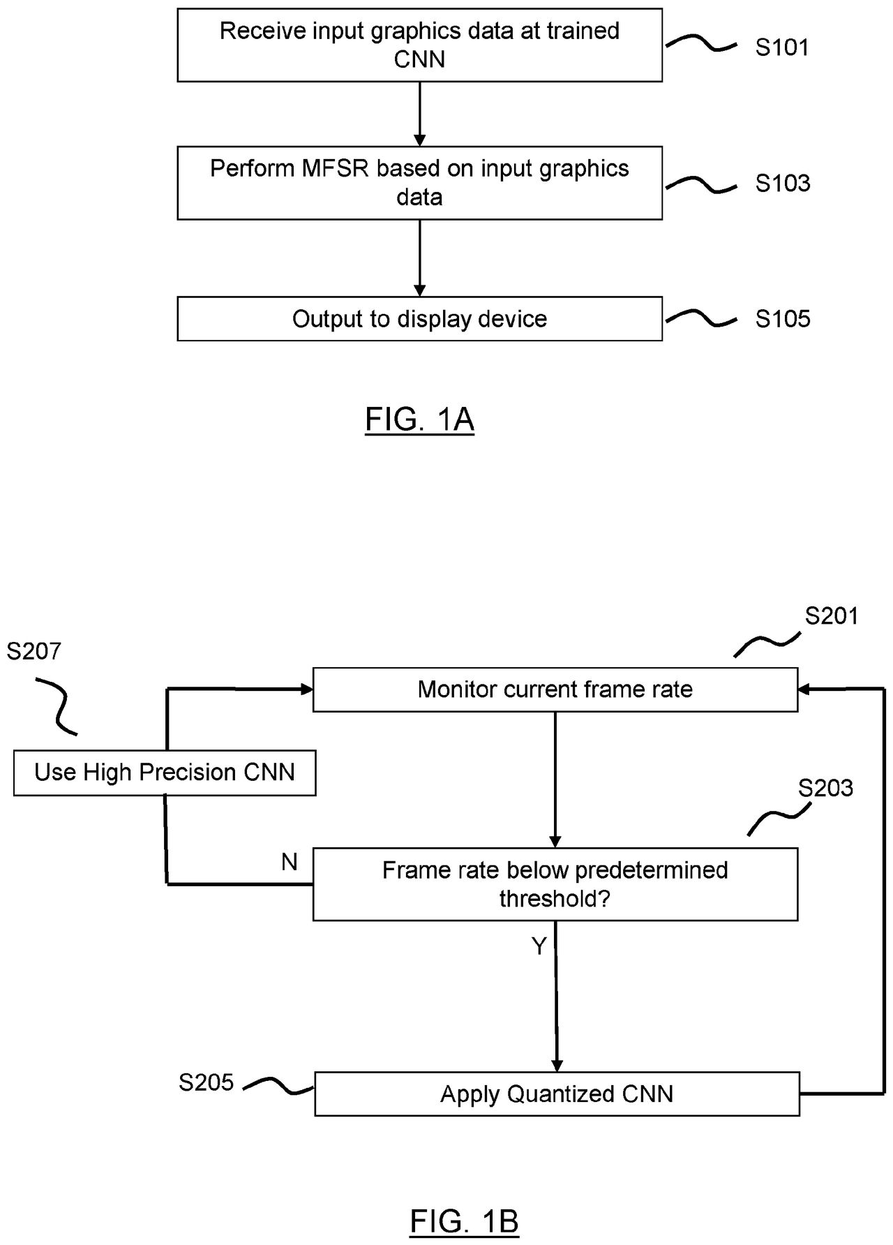
Jak napisano w dokumencie: "Rozwój nowoczesnych gier wideo wiąże się z ciągłym postępem w zakresie złożoności i realizmu grafiki, napędzanym ciągłymi ulepszeniami sprzętu, oprogramowania i technik renderowania". Za sprawą rzeczonego rozwoju twórcy gier są w stanie tworzyć coraz bardziej atrakcyjne wizualnie produkcje, a jedną z technik ułatwiających osiągnięcie tego celu jest MFSR, czyli superrozdzielczość wieloklatkowa (ang. multi-frame super resolution). Owo MFSR polega na "łączeniu" wielu obrazów tej samej sceny o niskiej rozdzielczości, co pozwala wygenerować obraz o wyższej rozdzielczości.

Schemat działania PSSR 2.0
Schemat działania PSSR 2.0© Patentscope | Sony

Chociaż technika ta w większości sytuacji sprawdza się wystarczająco dobrze, tak w przypadku wyświetlaczy o wysokich rozdzielczościach, takich jak 4K i 8K, wykonanie zachodzących w toku procesu obliczeń zajmuje dużo czasu. Gdy zaistnieje "wysoki punkt obciążenia", liczba klatek na sekundę spada. Ma to miejsce przede wszystkim w tytułach nastawionych na szybką akcję.

Sony podobno znalazło sposób na obejście tej niedogodności. Firma utrzymuje, że jej wynalazek w "korzystny sposób optymalizuje dostęp do pamięci i czasy obliczeń dla generowania wyjścia graficznego MFSR w zależności od monitorowanego wykorzystania jednostki przetwarzającej podczas gry", a wszystko to za sprawą "dynamicznego zmieniania precyzji wag i/lub aktywacji stosowanych podczas wykonywania wieloklatkowej superrozdzielczości".

Za sprawą tego wynalazku wydajność staje się większa, a rozdzielczość wyjściowa nie ulega zmianie. W skrócie – gdy narzędzie wykryje, że sprzęt ma problem z generowaniem odpowiedniej liczby klatek na sekundę, zamiast obniżać jakość obrazu, podejmie on decyzję o ograniczeniu wykorzystania CNN (splotowej sieci neuronowej).

Biorąc pod uwagę, że, wedle plotek, PSSR 2.0 powinno ukazać się w ciągu najbliższych miesięcy, tytułową technologię prawdopodobnie będziemy mieli okazję zobaczyć już względnie niedługo.

Jakub Dmuchowski, redaktor pcformat.pl

Źródło artykułu:WIPO

Wybrane dla Ciebie